Alloy20 kuleventil
NSV Alloy20 kuleventiler er mye brukt for kjemiske prosesser som leverer eddiksyre-alkali, fortynnet saltsyre, fortynnet hydrofluorsyre, fortynnet svovelsyre og fosforsyre, også for oljeraffinering. Dette materialet med overlegen korrosjonsbestandighet mot salpetersyre med en hvilken som helst konsentrasjon ved 60 ° C og lavere og til oppvarmet fortynnet oksyd.
Gjeldende standarder:
Kuleventildesign i henhold til API6D, BS5351, ASME B16.34
Ansikt til ansikt ASME B16.10, AP6D
Endeflenser ASME B16.5 / ASME B16.47
Butt sveiste ender ASME B16.25
Brannsikkerhets API607, API6A
Inspeksjon og test API 598, API6D
Materiale: Alloy20 (A182 F20 / B462 N08020)
Størrelsesområde: 1/2 "~ 8"
Trykkvurdering: ASME CL, 150, 300, 600
Designbeskrivelse:
- To deler eller tre deler
- Metall eller myk sittende
- Full eller redusert kjede
- Flensete eller Butt-sveiste ender
- Anti Blow Out Stem
- Anti-statiske enheter
- Brannsikker design
- Låseenhet
- ISO-monteringsputer (valgfritt)


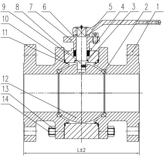
STRUKTURFUNKSJONER
1. Spesial sete design
Den flytende kuleventilen vedtar utformingen av fleksibel tetningsringstruktur. Når middels trykk er lavere, er kontaktområdet for tetningsring og kule mindre. slik at høyere tetningsforhold dannes på stedet der tetningsringen og kulekontakten for å sikre pålitelig tetting. Når mediumtrykket er høyere, blir kontaktområdet til tetning og kule større sammen med den elastiske deformasjonen av tetningsringen, slik at tetningsringen tåler høyere mediumtrykk uten å bli skadet.

2.Fireproof Structure Design
I tilfelle brann under bruk av ventil, vil seteringen av PTFE eller andre ikke-metalliske materialer bli spaltet eller skadet under høy temperatur og forårsake høyere lekkasje. Den brannsikre tetningsringen er satt mellom kule og sete slik at etter at ventilsetet er brent, vil mediet skyve ballen raskt mot nedstrøms metallforseglingsring for å danne hjelpemetall til metallforseglingskonstruksjon, som effektivt kan kontrollere ventillekkasje. I tillegg er den midtre flensetetningspakningen laget av metallviklet pakning, noe som kan sikre tetting selv under høy temperatur. Den brannsikre konstruksjonen av flytende kuleventil er i samsvar med kravene i API 607, API 6FA, BS 6755 og andre standarder.

3. Antistatisk struktur
Kuleventilen er utstyrt med en antistatisk struktur som mellom kule og stilk og stilk og kropp monteres av en fjær og en SS-kule, som sikrer at alle metalldeler er jording.

4. Antistatisk struktur
Håndtakets stopp med låsehull forhindrer kontinuerlig å åpne eller lukke ventilen når ventilen er i helt åpen eller lukket stilling. Ventilen kan dessuten låses når den ikke trenger det.

FAQ
1.Q: Hva er merkevaren din kan levere?
A: NSV eller OEM-tjeneste
2.Q: Jeg vil vite hvordan du kontakter den ansvarlige.
A: Når du ringer representantens telefonnummer til selskapet (86-577-67378616), vil salgsteamet motta samtalen hvis det ikke er noen spesiell situasjon. Hvis du gir oss beskjed om forespørselen din, vil vi sende deg gjennom til den ansvarlige. Hvis du trenger et personlig telefonnummer, må du motta det fra den ansvarlige direkte etter telefonsamtale.
3. Spørsmål: Hva er ventilens garanti?
A: Våre garantiperiode for ventiler skal være 18 måneder fra leveringsdato eller 12 måneder etter installasjon, avhengig av hva som skjer først.
4. Spørsmål: Hvordan kan jeg få et tilbud?
A: Hvis du ber om tilbud ved å forberede produktspesifikasjonen du vil be om spesifikt gjennom "Kontakt oss eller tilbakemelding" på hjemmesiden, vil vi sende svar til deg ASAP. Hvis innholdet på hjemmesiden ikke er tilgjengelig, kan du spørre oss via telefon (86-577-67378616) eller faks (86-577-67372367).
5.Q: Er det MOQ?
Et : Nei. Vi kan godta 1 sett, men det koster $ 150,00 (eksportprosess) hvis ordren er på $ 2000,00.
Populære tags: alloy20 kuleventil, Kina, produsenter, leverandører, fabrikk, produsert i Kina
Et par
Alloy20 sikkerhetsventilNeste
CK3MCuN PortventilDu kommer kanskje også til å like
Sende bookingforespørsel















